• Products
  • Markets
  • IIoT & Solutions
  • Company
  • Resources
  • Supply Chain Software
  • my ifm
  1. SD flow meters
  2. Setup and support
  3. Device configuration

Air flow meters | Device configuration and programming

The following will guide you through key programming steps for the SD flow meters. More details can be found below on this page.

Learn more about installing a flow meter or find answers to frequently-asked questions about compressed air flow meters.

Setup with moneo

moneo | configure

moneo | configure is a user-friendly software package that enables easy programming and visualization of all ifm IO-Link enabled sensors (V1.0 and V1.1) as well as other manufacturers' IO-Link enabled sensors (V1.1).  The software can be downloaded here: moneo | configure.

moneo | blue

Smart phone running the moneo blue app and the EIO330 bluetooth adapter

moneo | blue is an app that runs on your Apple or Android smart phones and provides access to all parameters, process values and diagnostics from all sensors connected to an IO-Link master. The Bluetoothâ„¢ adapter, EIO330, connects to one port of the IO-Link master and the app can be downloaded free of charge from the Apple App Store or from Google play.

Programming using pushbuttons

Common programming features

All of ifm's process sensors, including the SD series compressed air flow meters, use similar terminology for programming. We highlight the features used most often here. Refer to the Operating Instructions manual found under the "Downloads" tab at the product datasheet page for more details on these and other features.

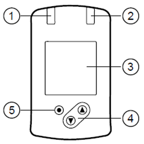
Display and indications

The SD flow meters display flow rate, temperature, pressure and flow totalizer at a glance. Other display indications:

  1. LED for switching status of output 1
  2. LED for switching status of output 2
  3. Display showing current process values or menu / parameters for setup
  4. Up / down arrows for selecting parameters and changing parameter values
  5. Enter button to enter the programming menu and confirm the parameter setting value