- PL industrial pressure transmitters
- Setup and support
- Installation guidelines
PL pressure transmitters installation guidelines
Pressure sensors are quite easy to install.
- Ensure no pressure is applied to the system.
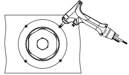
- Insert the sensor into an appropriate process connection. Tighten to 25...35 Nm depending on the pressure range, lubrication, seal and load.
For best performance of the PL family of pressure sensors, please adhere to the following guidelines explained below and in our published operating instructions.
Should you need additional support, feel free to contact our service center at 888-704-0702 and speak to one of our applications engineers.
PL15 installation
The PL15 pressure transmitter has various sealing concepts.
Check out the "How-to" installation video below.
The way the PL15 transmitter seals and maintains a flush mounting depends on how it is installed. The below illustrations and descriptions further explain the various sealing concepts shown in the "How-to" video.
- Adaptation with existing welding adapter
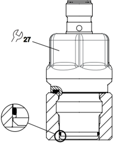
In combination with an O-ring, the PL15 sensor can be used at the sealing edge at pressures of up to 60 bar. At pressures > 60 bar, the seal between housing and process connection is used. - Using ifm adapters E30509 and E30516
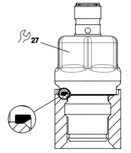
When using ifm adapters, a metal-to-metal sealing edge is formed directly at the sensor tip which is not limited by pressure. This prevents fluid media such as paints or lacquers from entering the threaded area of the measurement connection under high pressure, from depositing there, or from mixing / contaminating subsequent media further into the process. - Installation in a block or a pipe
When installing in a standard ½ threaded hole, the seal between housing and process connection is used.
ifm adapters (sealing concept #2)
Installation of E30509 welding adapter
Follow appropriate welding practices suitable for the actual installation. Take care to avoid warping, overheating, or damage to the sealing surface. Use both the E30509 adapter and E43440 weld mandrel.
![]() |
Bore hole in pipe or tank wall with the outside diameter of the adapter. Insert weld mandrel E43440 (2) into adapter E30509 (1) and tighten by hand. |
![]() |
Spot weld adapter in several equidistant points. |
![]() |
Weld seams on opposite sides to avoid overheating and warping. |
![]() |
Weld inside if possible. Remove mandrel and carefully deburr adapter thread. |
Screw in sensor by hand to check for fit. If sensor does not thread easily into adapter, do not force with a tool. Check the thread and replace adapter if necessary.
Installation designed into your environment
The BSPP thread of the PL15 transmitters comply with DIN ISO 228 standards. Details on the thread design to create a metal-to-metal seal identical to ifm's adapters can be found on page 10 of the operating instructions for the PL15.
Installation of E30503 welding adapter
Follow appropriate welding practices suitable for the actual installation. Take care to avoid warping, overheating, or damage to the sealing surface. Use both the E30503 adapter and E30508 weld mandrel.
![]() |
Bore hole in pipe or tank wall with the outside diameter of the adapter. Insert weld mandrel E30508 (2) into adapter E30503 (1) and tighten by hand. |
![]() |
Spot weld adapter in several equidistant points. |
![]() |
Weld seams on opposite sides to avoid overheating and warping. |
![]() |
Weld inside if possible. Remove mandrel and carefully deburr adapter thread. |
Screw in sensor by hand to check for fit. If sensor does not thread easily into adapter, do not force with a tool. Check the thread and replace adapter if necessary.
Installation designed into your environment
The BSPP thread of the PL54 transmitters comply with DIN ISO 228 standards. Details on the thread design to create a metal-to-metal seal identical to ifm's adapters can be found on page 6 of the operating instructions for the PL54.



















