• Products
  • Markets
  • IIoT & Solutions
  • Company
  • Resources
  • Supply Chain Software
  • my ifm
  1. pmd Profiler
  2. Setup and support
  3. Device configuration

Configuring the OPD profiler

The following guides you through programming options for the OPD pmd profiler. More details can be found in the Operating Instructions available for download from the datasheet page.

Programming using the Vision Assistant configuration software

The video below shows how to use the configuration software to quickly set up the application. It also demonstrates the difference between floating mode, where the part can move left / right along the laser line, and fixed mode, where the part cannot move left / right along the laser line.

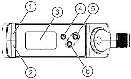
Display and indications

  1. Yellow LED indicates switching status of output 1
  2. Green LED indicates power status
  3. TFT color display for programming and display of measured value
  4. Enter pushbutton for selection and confirmation of parameters and settings
  5. and 6. Up and down pushbuttons to set parameter values

General use of pushbuttons

1 Press Enter (E) once to enter programming mode.
2 Press Up or Down arrow (U/D) to view parameters or additional menus.
3 To change setting, press Enter (E) and then Up or Down arrow (U/D) and hold until the progress bar competes. Then press Up or Down arrow (U/D) to toggle through options.
4 When desired value is reached, press Enter (E) to confirm the setting.

Guided teach / pushbutton setup

When the sensor is turned on for the first time after installation or a reset, it starts a guided teach for setup using the pushbuttons.

1 Press U/D to choose your language. Press E to confirm selection.
2 Press E to teach the current profile. Press E to confirm.
3 Set region of interst (ROI) by pressing U/D for both edges of the ROI.
4 Set position reference profile for floating (part can move left and/or right on a line) or fixed (part cannot move left and/or right on a line). Press E to confirm.
5 Press U/D to adjust matching threshold. Press E to confirm.

The video below shows the guided tour in detail.