検索
JP
製品
産業別
IIoTソリューション
サービス
会社案内
製品
コネクタ / スプリッタボックス
オープンエンドコネクタケーブル
コネクタ(ソケット)
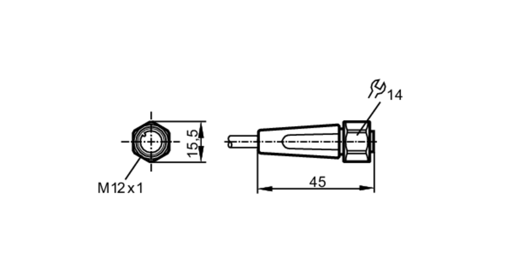
EVF001