Vyhledávání
CZ
Výrobky
Odvětví
IIoT & Solutions
Servis
Společnost
Produkty
Propojovací technika
Propojovací kabely s otevřeným koncem kabelu
Propojovací kabely se zásuvkou
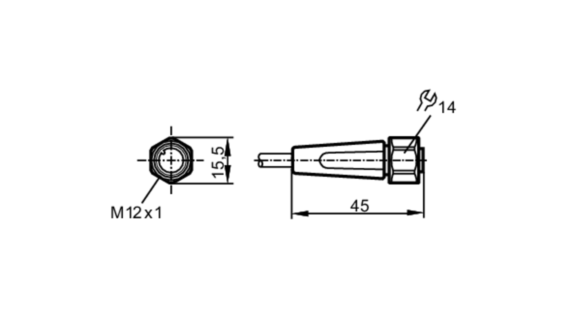
EVF064