Cerca
CH
Prodotti
Settori
IIoT & soluzioni
Servizi
Azienda
Prodotti
Tecnica di collegamento
Prolunghe
Cavi di collegamento per l'alimentazione dei moduli da campo
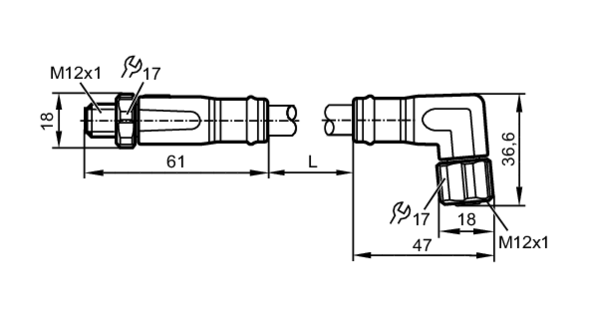
EVF632