• Izdelki
  • Panoge
  • IIoT & rešitve
  • Storitve
  • Podjetje
  1. Izdelki
  2. Senzorji
  3. Optoelektronski senzorji
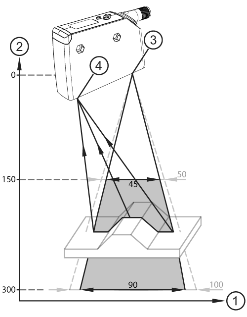
  4. Profilirni stroj PMD za preverjanje profila predmeta
  5. OPD100