Buscar
MX
Productos
Industrias
IIoT y soluciones
Servicios
Empresa
Productos
Sensores
Sensores fotoeléctricos
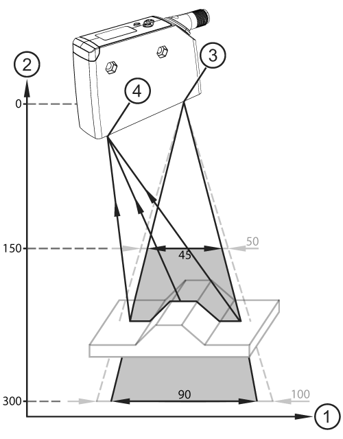
PMD Profiler para la detección de perfiles de objetos
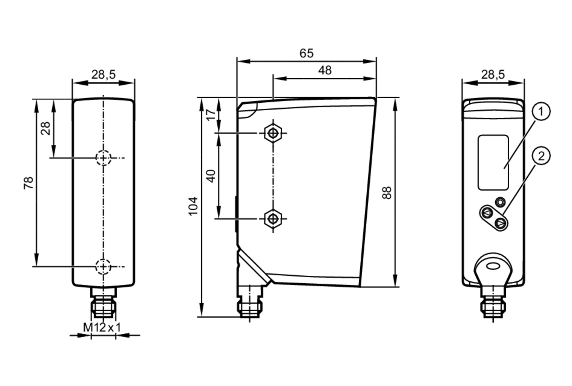
OPD100