Search
US
Products
Markets
IIoT & Solutions
Company
Resources
Supply Chain Software
my ifm
Products
Sensors
Level sensors
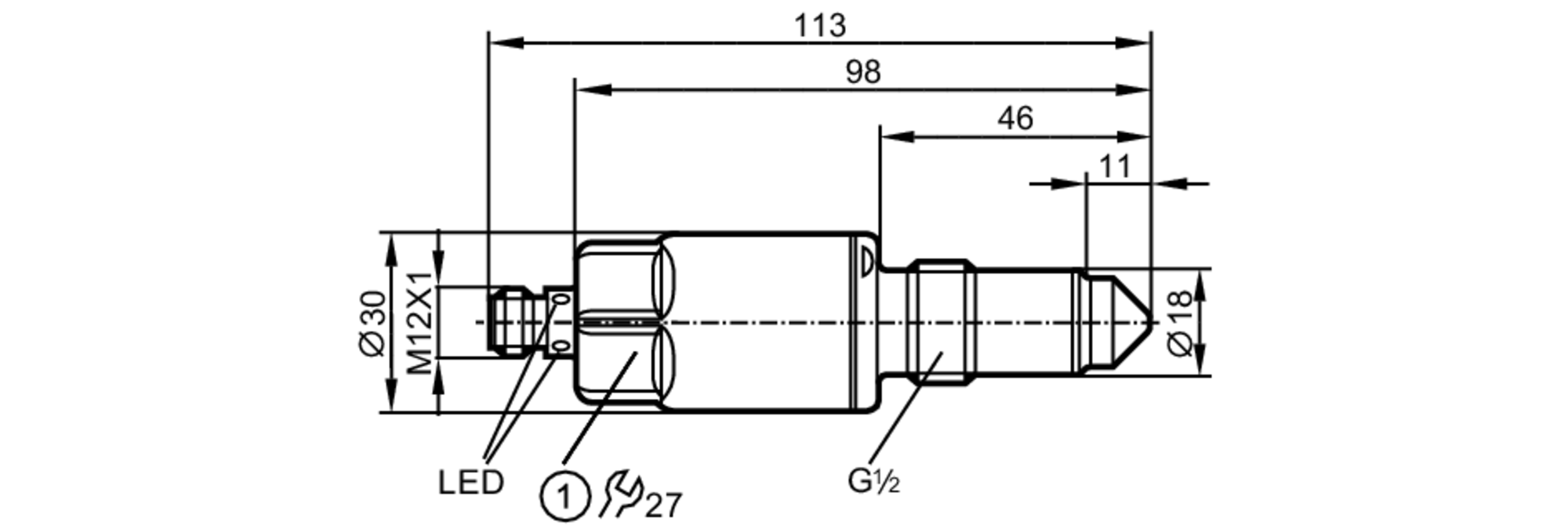
Residue suppression level switches for sanitary applications, Type LM
LMT100