Пошук
UA
Продукти
Промисловості
IIoT & Рішення
Сервіс
Компанія
Продукти
Технологія підключення
З'єднувальні кабелі із відкритим кінцем кабелю
З’єднувальні кабелі з роз'ємом
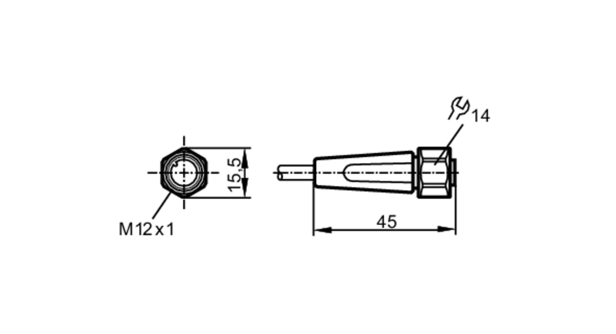
EVF001