• Products
  • Industries
  • IIoT & Solutions
  • Service
  • Company
  1. Products
  2. Sensors
  3. Temperature sensors
  4. Self-monitoring transmitters for the food industry
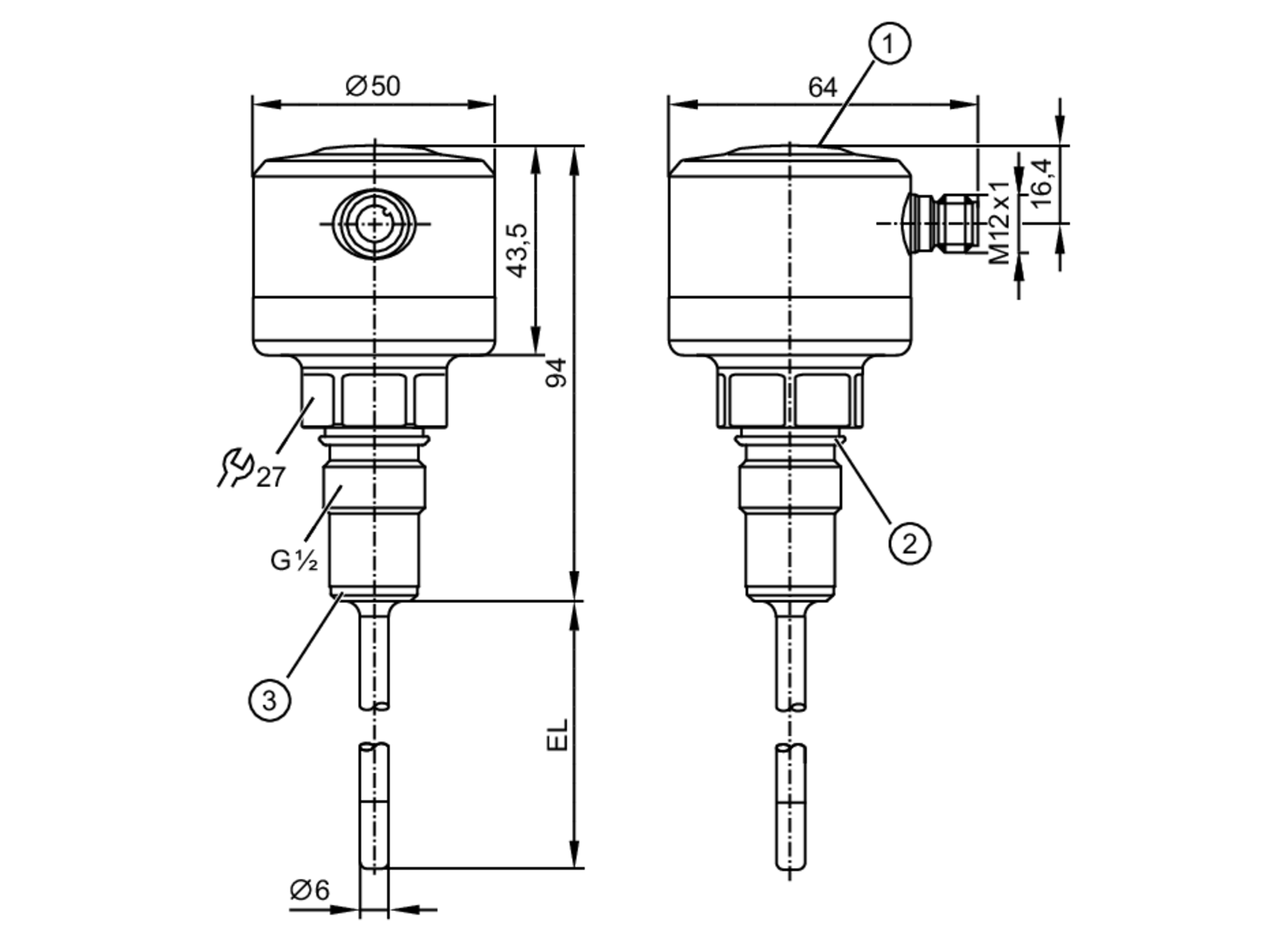
  5. TCC501