• 제품
  • 산업계
  • IIoT & 솔루션
  • 서비스
  • 회사
  1. 제품
  2. 센서
  3. 포토 센서
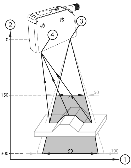
  4. 검출체 프로필 확인을 위한 PMD 프로파일러
  5. OPD100