Search
DE
Products
Industries
IIoT & Solutions
Supply Chain Software
Service
Company
Products
Connection technology
Connection cables with open cable end
Connection cables with socket
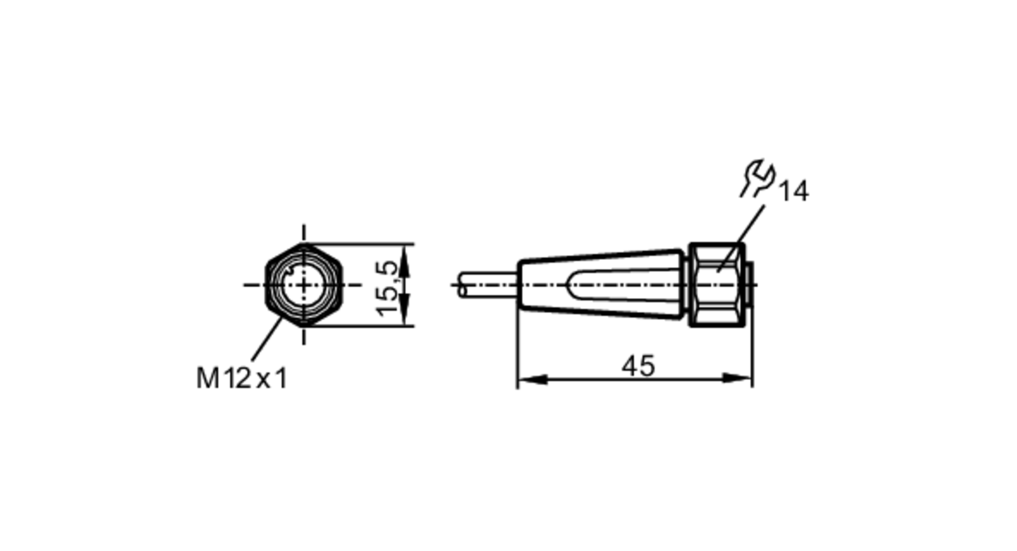
EVT002