Buscar
CL
Productos
Industrias
IIoT y soluciones
Servicios
Empresa
Productos
Sistemas de conexión
Cables de conexión con extremo abierto
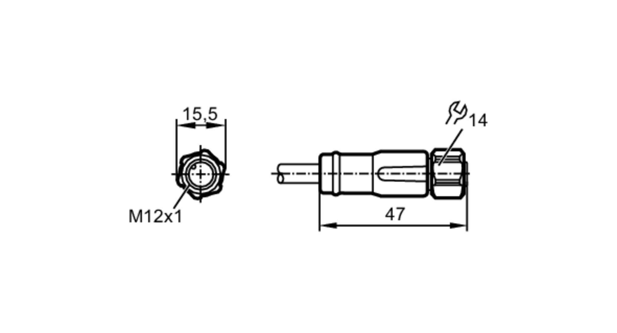
Cables de conexión con conector hembra para la alimentación de los módulos de campo
EVF481