Buscar
CL
Productos
Industrias
IIoT y soluciones
Servicios
Empresa
Productos
Comunicación industrial
Módulos de campo Ethernet
Switches Ethernet para la automatización de fábricas y máquinas móviles
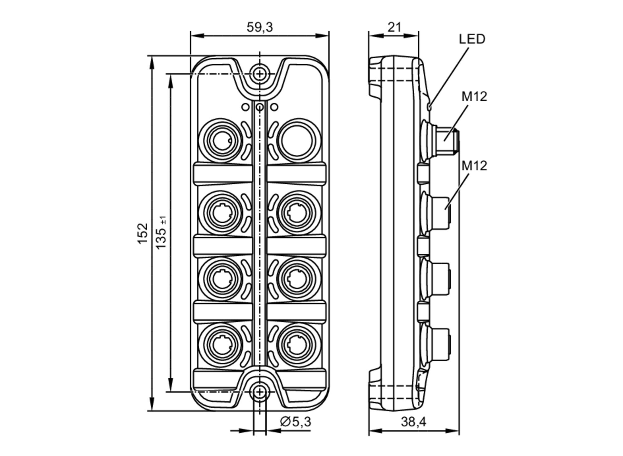
AL3050