• Produits
  • Industries
  • IIoT & solutions
  • Services
  • Société
  1. Produits
  2. Capteurs
  3. Détecteurs pour vannes
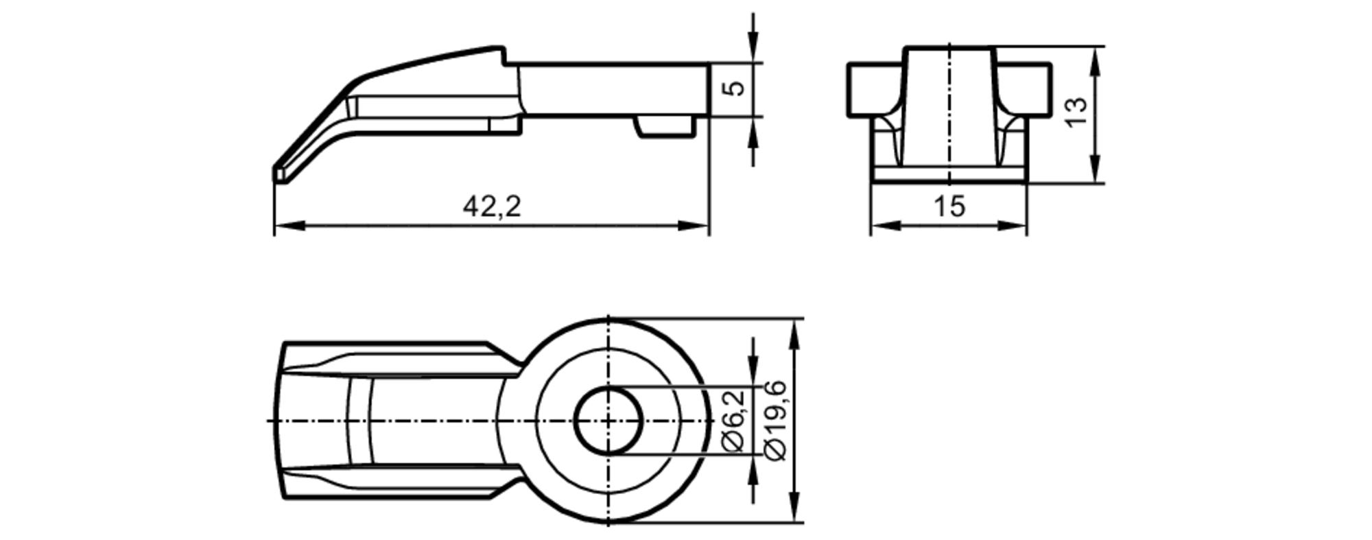
  4. Cames porte-drapeaux pour actionneurs 1/4 de tour
  5. E12726