Search
AU
Products
Industries
IIoT & Solutions
Service
Company
Products
Connection technology
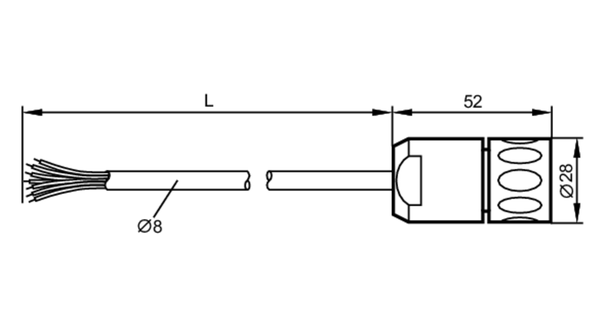
Connection cables with open cable end
Connection cables with socket
E60190