Search
AE
Products
Industries
IIoT & Solutions
Service
Company
Products
Condition monitoring
Systems for vibration monitoring and diagnostics
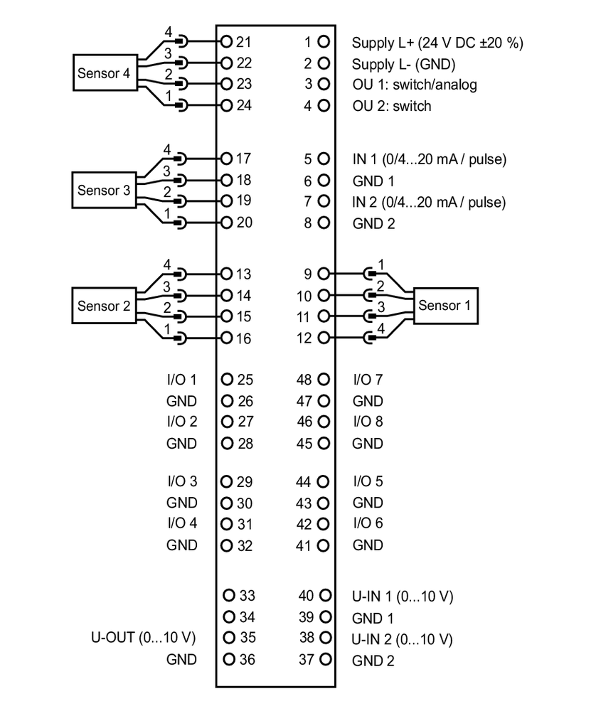
Diagnostic electronics
VSE100