Search
AE
Products
Industries
IIoT & Solutions
Service
Company
Products
Sensors
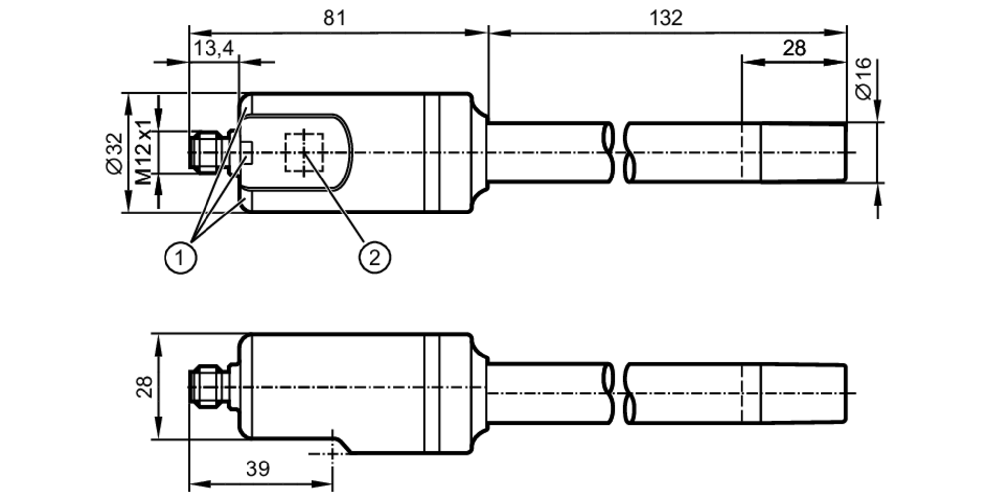
Level sensors
Use in applications with coolants, cleaning agents and lubricants as well as hydraulic oils
LI2131