Search
AE
Products
Industries
IIoT & Solutions
Service
Company
Products
Systems for mobile machines
I/O modules
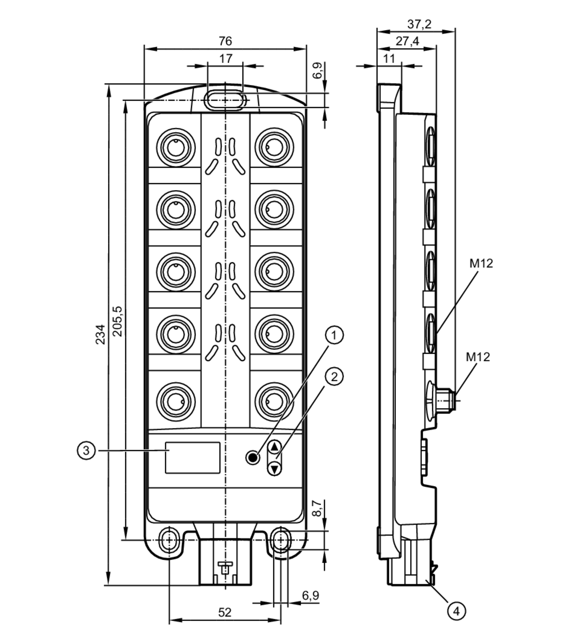
Devices with optional programmability and M12 or DEUTSCH connector
CR2040