Search
SG
Products
Industries
IIoT & Solutions
Service
Company
Products
Industrial communication
Ethernet field modules
Ethernet switches for factory automation and mobile machines
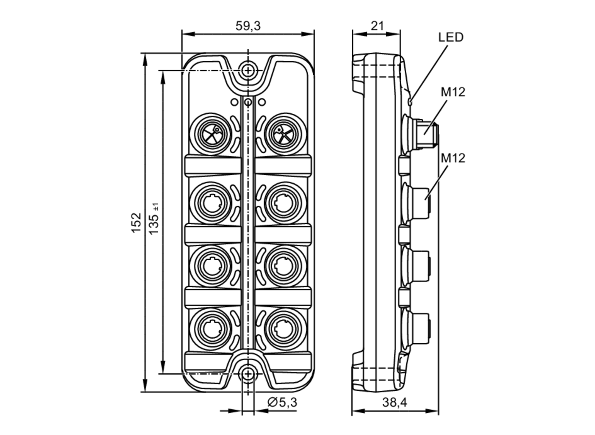
AL3100