• Products
  • Industries
  • IIoT & Solutions
  • Service
  • Company
  1. Products
  2. Sensors
  3. Flow sensors / flow meters
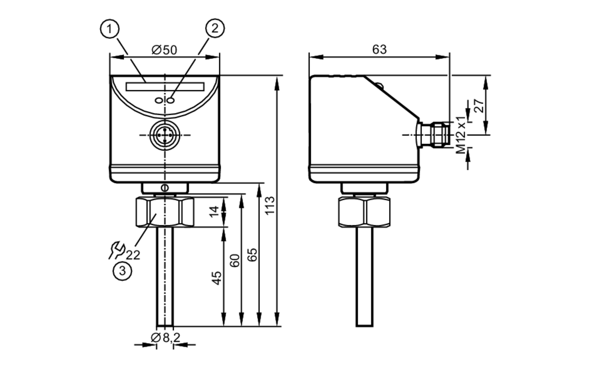
  4. Compact flow sensors in stainless steel housing
  5. SI5010