Search
LV
Products
Industries
IIoT & Solutions
Service
Company
Products
Industrial communication
Fieldbus components
IO-Link - Masters for field applications in factory automation
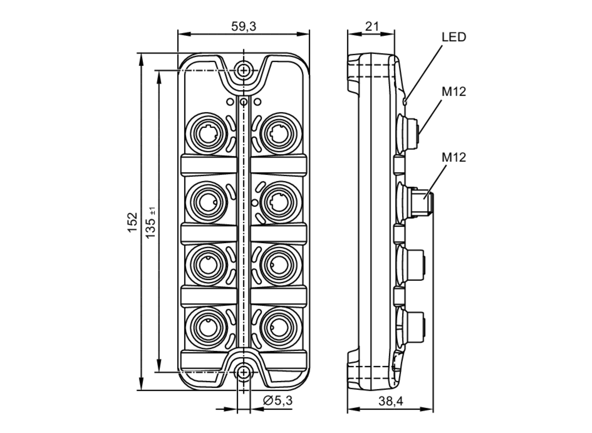
AL1300