Search
EE
Products
Industries
IIoT & Solutions
Service
Company
Products
Connection technology
Connection cables with open cable end
Connection cables with socket
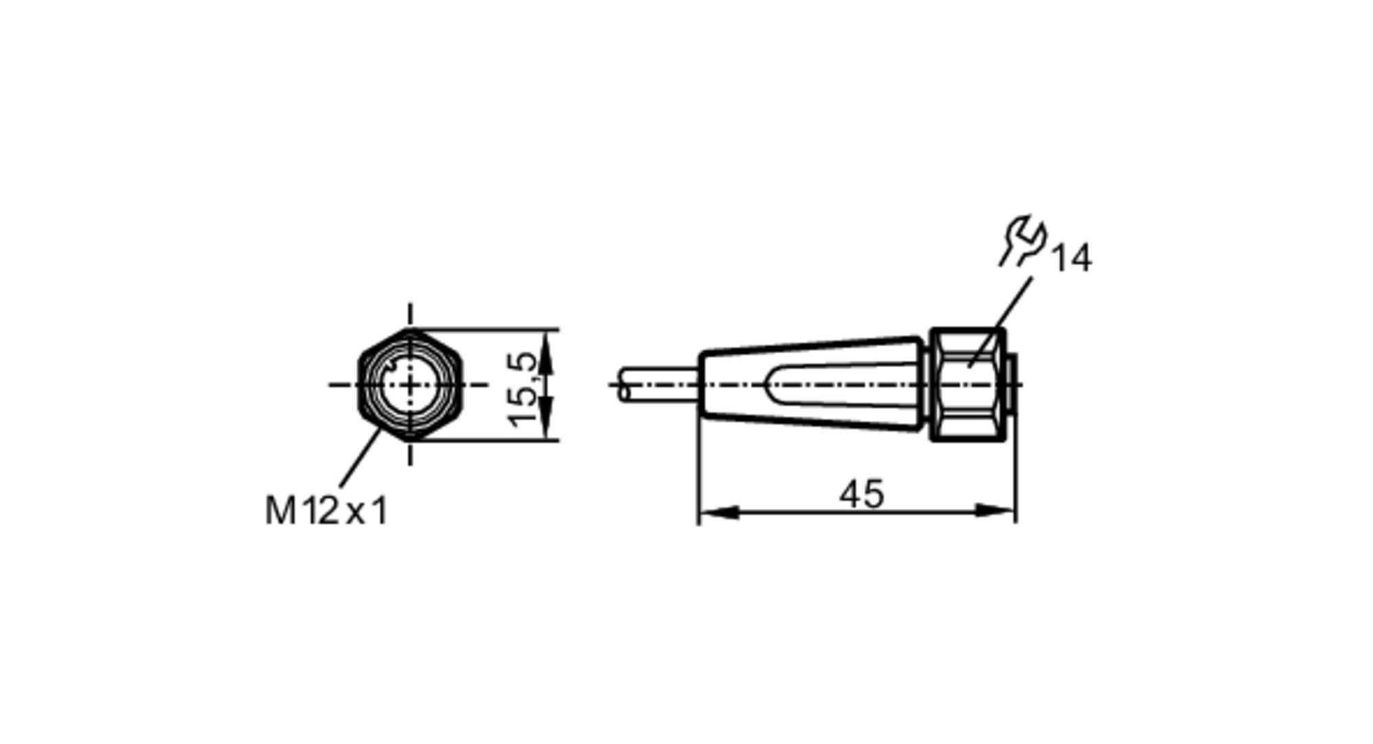
EVF001